| 1. 原理 在低温下,一定能量、速度的负荷物冲击压缩试样,判断其是否满足低温使用要求。 |
2. 要求 试验表面应无影响材料性能和对测定造成偏差的缺陷。 |
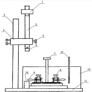
3. 低温冲击试验装置 3.1 重锤质量2500±10g,重锤冲击高度50±1mm。3.2 重锤头底面与冲击平台面保持平行。 3.3 试验夹持装置部分,图1中7、8、9部分可脱卸。 3.4 低温槽恒温精度满足±1℃,低温极限满足-30℃使用要求。 |
图1 低温冲击试验装置 主负荷1,冲击杆2,支柱3,负荷架4,活动梢5,重锤头6,试验转盘7,试验夹具8,试验9,冲击平台10,底座11,温度计12,低温槽13 |
4. 过程 4.1 启动低温槽并降至所需温度,控制在±1℃。4.2 试样夹具移除低温槽,将试样安装试验夹具,夹持尺寸要求图2所示。 4.3 将安装试样的试样夹具置于稳定在试验温度的低温槽中保持5min,试样约5s时间间隔将试样全部冲击完毕后,取出试样夹具。 |
图2 试样夹持示意图 试样夹具1,重锤头2,冲击平台3,试样4 |
5. 结果 试验恢复到室温,取下试样并目视观察表面状况。 |
新闻中心


