| 1. 要求 试验表面应平整光滑,无裂纹,气泡、针孔等影响材料性能的缺陷。 |
2. 试样采取 试样应在整个产品幅宽范围内均匀分布取样。2.1 试样尺寸数量:长度(120±2)mm,宽度(30±0.3)mm,纵横别取2片。 2.2 试样应采用冲压裁剪方式,避免在裁样部位有裂痕、毛边等。 |
3. 试验设备 3.1 左右夹具间距:0mm~60mm可调。3.2 夹具:高(45±5)mm,宽(40±2)mm。 3.3 揉搓方向行程:0mm~50mm可调。 3.4 试样水平方向载荷:5N~50N可调。 3.5 试样揉搓方向频率:(120±3)次/min。 |
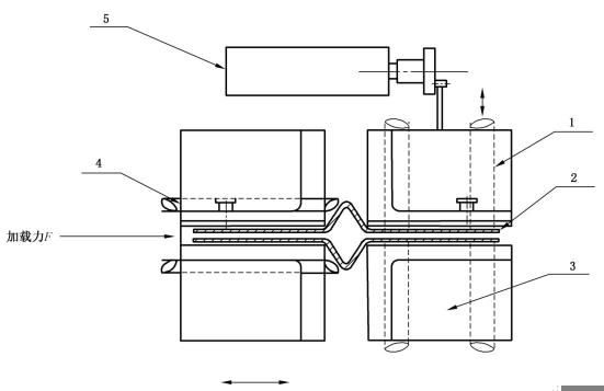
图1 耐揉搓试验机 揉搓方向导轨1,试样2,试验夹具3,水平方向导轨4,电机5 |
4. 试验步骤 将两块试样的相同面互相重合,装入试样夹具(如图2)中,调整试样夹持器,使左右夹具间隔为(30±0.5)mm,调整左右夹具距离至样品为90°角,并贴紧左右两夹具,调整水平方向样品载荷至(9.8±0.1)N或商定载荷,频率为(120±3)次/min,行程为(50±2)mm的条件下,设定揉搓次数,当到达设定揉搓次数时停止试验,取下样品。 |
图2 试样夹持示意图 |
5. 结果 取下试样并目视观察其表面状况是否存在裂纹、损伤、基布与涂层分离等现象。 |
新闻中心


