| 1. 原理 在低温下,一定能量、速度的负荷物冲击压缩试样,判断其是否满足低温使用要求。 | |||||
2. 要求 试验表面应无影响材料性能和对测定造成偏差的缺陷。 | |||||
3.试样尺寸 | |||||
| 条件 | 落球规格 | 落球高度 | 冷冻时间 | 衬垫物 | 样品尺寸 |
| 1 | Sφ(50.0±0.03)mm (500±15)g | 255±2 | 22±2 | 无衬垫a | 周边超出立放面的宽度≥5mm |
| 2 | 1000±2 | 5±0.5 | 有衬垫b | 长度宽度 (200±1mm)×(200±1mm) | |
| a 凹穴尺寸:深度(10±0.5)mm,φ(50±0.5)mm b 由下到上依次为木质垫板,尺寸长度(200±1)mm,宽度(200±1)mm,厚度(30±1)mm,软质聚氨酯泡沫垫,密度为(30±2)kg/m3,压陷硬度指数为150±25,尺寸长度(150±1)mm,宽度(150±1)mm,厚度15mm~20mm。 | |||||
4. 试验设备 4.1 导管内径φ53.0±0.5mm,设有球位保持板的插口槽。4.2 设有球位保持板。 4.3 低温槽恒温精度满足±1℃,低温极限满足-30℃使用要求。 | |||||
5. 过程 5.1 按表1要求组合安装,条件1时受冲击部位应置于导管和底座凹穴的中心线上(如图1),条件2时受冲击部位应至于导管和样品中心线上(如图2)。5.2 将球放置于球位保持板上,调整好落球高度,确保落球可垂直降落。 5.3 将冲击试验装置置于试验温度的低温槽中并保持至试验结束后,抽出球位保持板,使落球垂直降落冲击试样,然后取出试样条件2或试样夹持装置条件1。 | |||||
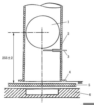
图1 条件1低温冲击试验装置 试球1,导管2,球位保持板3,立放面4,试样5,基座底板6 | |||||
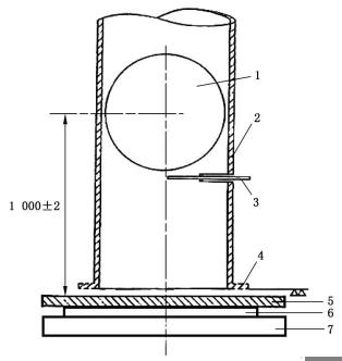
图2 条件2低温冲击试验装置 试球1,导管2,球位保持板3,立放面4,试样5,软质聚氨酯泡沫垫6,木质垫板7 | |||||
新闻中心


